

在新能源水合物领域,世纪森朗根据这一体系的特点,针对水合物在形成,基理研究,计......

水合物蓝宝石摇摆反应器产品特点:世纪森朗公司蓝宝石摇摆反应器为水合物的观察以及筛选适合的水合物抑制剂......

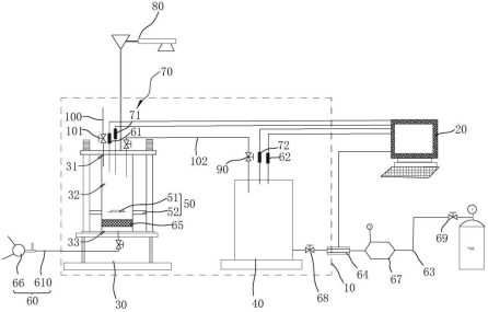
气体水合物形成和分解机制及相态研究的实验装置,实现同步介观观测气体水合物形成与分解的装置及方法。该装......

北京世纪森朗水合物反应釜,包括甲烷水合物反应器,氢气水合物反应装置与二氧化碳水合物反应设备。主要用于......

氢气的储存有高压压缩、低温液化、金属氢化物等多种方式,利用水合物技术储存氢气是近年来发展起来的一项新......

水合物反应器,水合物反应釜...

全透明水合物反应装置...

世纪森朗研发的高压蓝宝石可视反应系统主要用于专业研究领域的观察反应器,应用于显微镜下或天然气红外和拉......

全透明蓝宝石微型高压反应釜,耐压力,全体积可视。...

天然气可以在管道、井简以及地层多孔介质中形成水合物,对油气生产及储运危害很大,因此天然气水合物的防治......